1, setaccio cilindrico
(1) Costruzione del setaccio cilindrico
Lo schermo cilindrico è composto principalmente da un sistema di trasmissione, un albero principale, un telaio del setaccio, una rete del setaccio, un involucro sigillato e un telaio.
Per ottenere particelle di diverse granulometrie contemporaneamente, è possibile installare setacci di diverse dimensioni lungo l'intera lunghezza del setaccio. Nella produzione di grafitizzazione, vengono generalmente installati setacci di due diverse dimensioni, al fine di ridurre al minimo la granulometria del materiale resistivo. I materiali con granulometria superiore a quella massima del materiale resistivo possono essere setacciati; il setaccio del foro di setaccio piccolo viene posizionato vicino all'ingresso di alimentazione, mentre il setaccio del foro di setaccio grande viene posizionato vicino all'apertura di scarico.
(2) Principio di funzionamento del setaccio cilindrico
Il motore fa ruotare l'asse centrale del setaccio attraverso il dispositivo di decelerazione e il materiale viene sollevato a una certa altezza nel cilindro per effetto dell'attrito, per poi rotolare verso il basso per effetto della forza di gravità, in modo che venga setacciato inclinato lungo la superficie del setaccio. Spostandosi gradualmente dall'estremità di alimentazione a quella di scarico, le particelle fini passano attraverso l'apertura delle maglie nel setaccio, mentre le particelle grossolane vengono raccolte all'estremità del cilindro setacciante.
Per movimentare il materiale nel cilindro in direzione assiale, questo deve essere installato obliquamente e l'angolo tra l'asse e il piano orizzontale è generalmente compreso tra 4° e 9°. La velocità di rotazione del setaccio cilindrico viene solitamente selezionata entro il seguente intervallo.
(trasferimento / minuto)
Raggio interno della canna R (metri).
La capacità produttiva del setaccio cilindrico può essere calcolata come segue:
La capacità produttiva del setaccio a barile Q (tonnellate/ora); la velocità di rotazione del setaccio a barile n (giri/min);
Ρ – densità del materiale (tonnellata/metro cubo) μ – coefficiente di elasticità del materiale, che generalmente è compreso tra 0,4 e 0,6;
Raggio interno della barra R (m) h – spessore massimo dello strato di materiale (m) α – angolo di inclinazione (gradi) del setaccio cilindrico.
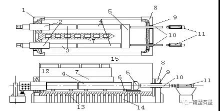
Figura 3-5 Diagramma schematico dello schermo del cilindro
2, elevatore a tazze
(1) struttura dell'elevatore a tazze
L'elevatore a tazze è composto da una tramoggia, una catena di trasmissione (cinghia), un organo di trasmissione, una parte superiore, un involucro intermedio e una parte inferiore (coda). Durante la produzione, l'elevatore a tazze deve essere alimentato in modo uniforme e l'alimentazione non deve essere eccessiva per evitare che la sezione inferiore venga bloccata dal materiale. Quando il paranco è in funzione, tutti gli sportelli di ispezione devono essere chiusi. In caso di guasti durante il lavoro, interrompere immediatamente il funzionamento ed eliminare il malfunzionamento. Il personale deve sempre osservare il movimento di tutte le parti del paranco, controllare i bulloni di collegamento ovunque e serrarli in qualsiasi momento. Il dispositivo di tensionamento a spirale della sezione inferiore deve essere regolato per garantire che la catena (o la cinghia) della tramoggia abbia la normale tensione di lavoro. Il paranco deve essere avviato a vuoto e arrestato dopo che tutto il materiale è stato scaricato.
(2) capacità produttiva dell'elevatore a tazze
Capacità produttiva Q
Dove i0-volume della tramoggia (metri cubi); a-passo della tramoggia (m); v-velocità della tramoggia (m/h);
Il fattore di riempimento φ è generalmente considerato pari a 0,7; peso specifico del materiale γ (tonnellate/m3);
Κ – coefficiente di irregolarità del materiale, compreso tra 1,2 e 1,6.
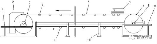
Figura 3-6 Diagramma schematico dell'elevatore a tazze
Capacità di produzione del setaccio a barili Q (tonnellate/ora); velocità del setaccio a barili n (giri/min);
Ρ – densità del materiale (tonnellata/metro cubo) μ – coefficiente di elasticità del materiale, che generalmente è compreso tra 0,4 e 0,6;
Raggio interno della barra R (m) h – spessore massimo dello strato di materiale (m) α – angolo di inclinazione (gradi) del setaccio cilindrico.
Figura 3-5 Diagramma schematico dello schermo del cilindro
3, trasportatore a nastro
I tipi di trasportatori a nastro si dividono in fissi e mobili. Un trasportatore a nastro fisso significa che il trasportatore si trova in una posizione fissa e il materiale da trasferire è fisso. La ruota del nastro scorrevole è installata sul fondo del trasportatore a nastro mobile e il nastro può essere spostato lungo le rotaie a terra per trasportare i materiali in più punti. Il trasportatore deve essere lubrificato in tempo, avviato senza carico e può essere caricato e avviato senza alcuna deviazione. Si è constatato che, dopo aver spento il nastro, è necessario individuare la causa della deviazione in tempo e quindi regolare il materiale dopo averlo scaricato sul nastro.
Figura 3-7 Diagramma schematico del trasportatore a nastro
Forno di grafitizzazione a corda interna
La caratteristica superficiale della stringa interna è che gli elettrodi sono accostati in direzione assiale e viene applicata una certa pressione per garantire un buon contatto. La stringa interna non necessita di materiale con resistenza elettrica e il prodotto stesso costituisce il nucleo del forno, quindi la stringa interna ha una bassa resistenza. Per ottenere una grande resistenza del forno e per aumentare la potenza, il forno a stringa interna deve essere sufficientemente lungo. Tuttavia, a causa delle limitazioni di produzione e della necessità di garantire la lunghezza del forno interno, sono stati costruiti molti forni a U. Le due fessure del forno a stringa interna a U possono essere integrate in un corpo unico e collegate da una barra di rame dolce esterna. Può anche essere integrato in un unico corpo, con una parete centrale in mattoni forati. La funzione della parete centrale in mattoni forati è quella di dividere il forno in due fessure del forno isolate tra loro. Se il forno è integrato in un unico corpo, durante il processo di produzione è necessario prestare attenzione alla manutenzione della parete centrale in mattoni forati e dell'elettrodo conduttivo di collegamento interno. Se la parete centrale in mattoni cavi non è ben isolata o l'elettrodo conduttivo di collegamento interno è rotto, si verificherà un incidente di produzione, che si verificherà nei casi più gravi. Fenomeno del "forno a soffiaggio". Le scanalature a U della fila interna sono generalmente realizzate in mattoni refrattari o calcestruzzo resistente al calore. La scanalatura a U divisa è anch'essa costituita da una pluralità di carcasse realizzate in piastre di ferro, unite da un materiale isolante. Tuttavia, è stato dimostrato che la carcassa in piastre di ferro si deforma facilmente, quindi il materiale isolante non riesce a collegare bene le due carcasse, con conseguenti notevoli difficoltà di manutenzione.
Figura 3-8 Diagramma schematico del forno a corda interno con parete in mattoni cavi al centro
Questo articolo è solo per studio e condivisione, non per uso commerciale. Contattateci in caso di illecito.
Data di pubblicazione: 09/09/2019


